트럼프 정부, 특허권자 일방 지지... 개별소송 개입도 불사
“기간산업 반도체 생존 문제... 정부·업계 공동 대응 나서야”
[보안뉴스 유경동 기자] 최근 한국 반도체 기업들이 슈퍼 사이클을 맞았지만, 트럼프 미국 행정부의 특허권 보호 강화 기조에 따라 이른바 ‘특허괴물’의 표적이 될 것이라는 우려가 현실화하고 있다.
미국 내 특허관리전문회사(NPE)들이 특허정책 변화와 함께 공격적인 활동을 펼치면서 한국 대표 반도체 기업을 겨냥한 소송이 잇따르고 있다.
첨단 반도체 기술 경쟁이 격화하는 가운데 우리 기업의 자원이 소송 대응에 낭비되면서 핵심 경쟁력 약화가 우려되는 상황이다.
삼성전자 215건, SK하이닉스 7건...美 법원서 소송진행 중
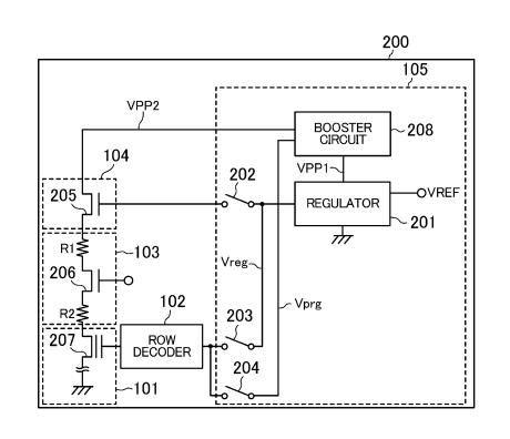
14일 반도체 업계에 따르면, 지난해 1월 중국계 NPE인 어드밴스드 메모리 테크놀로지(AMT)는 SK하이닉스가 부스터 회로를 비롯해 자사 핵심 특허 4건을 침해했다면서 미 텍사스 동부 연방지방법원에 특허침해소송을 제기했다. AMT는 4건의 해당 특허 모두 소 제기에 앞서, 2024년 3월경 원출원인(파나소닉)으로부터 잇따라 매입했다.

▲SK하이닉스 상대 소 제기에 동원된 ‘반도체 메모리 장치’ 특허 대표도면 [자료: IP전략연구소]
삼성전자도 예외 아니다. 2023년과 2024년 두 차례에 걸쳐 LG반도체 출신 홍춘기 대표가 설립한 특허관리법인 넷리스트에 총 4억2115만달러(약 6300억원)를 배상하라는 판결을 받았다.
넷리스트는 2021년 SK하이닉스와도 4000만달러(약 600억원) 규모 합의를 끌어낸 바 있다.
이날 현재, 연방지법 등 미 법원서 소송 진행중인 건은 삼성전자가 215건, SK하이닉스가 7건 등에 달한다.
무분별 소송 방지장치 무력화한 트럼프 정부
이런 상황은 일차적으로 한국 반도체 기업의 글로벌 시장 점유율이 확대되고 매출이 증가하면서 미국 내 NPE들의 소송 유인이 커진 결과로 풀이된다.
그러나 무엇보다 제도적 측면에서 트럼프 행정부의 친특허권자 정책이 NPE의 승소 가능성을 높이면서 소송 증가라는 악순환을 키우고 있다는 분석이 나온다.
미국은 2011년 특허무효심판(IPR) 제도를 도입해 무분별한 특허 소송을 억제해왔다. IPR은 피소 기업이 미국 특허청 산하 특허심판원(PTAB)에서 특허의 유효성을 신속히 다툴 수 있는 핵심 방어 수단 역할을 했다.
하지만 트럼프 행정부 들어 미국 특허청은 IPR 개시 요건을 엄격히 적용하며 제도의 실효성을 약화하는 방향으로 정책을 전환했다.
동일 특허를 둘러싼 소송이 진행 중이거나, 절차 남용 가능성이 있다는 등의 이유로 IPR 신청을 재량적으로 거부하는 사례가 급증한 것이다.
종전 30% 수준이던 IPR 개시 거절률은 지난해 9월 신임 특허청장 취임 이후 90% 수준으로 급등했다.
게다가 미국 특허청과 법무부 등 연방행정기관까지 개별 특허 소송에 직접 개입하며 특허권자 입장을 지지하는 사례가 잇따르면서 업계의 우려를 키우고 있다.
이들 기관은 넷리스트가 삼성전자 등을 대상으로 진행 중인 소송과 관련, 지난해 11월 미 국제무역위원회(ITC)에 강력한 특허집행이 공공이익에 부합한다는 취지의 공동 의견서를 제출하기도 했다.
이처럼 미국 연방기관들이 ITC 소송에 개입해 특허권자를 지지한 것과 관련, NPE가 ITC를 활용해 외국기업을 겨냥한 공격적 소송에 나서도록 정책적으로 지원하는 것으로 받아들여질 수 있다는 지적이 제기된다.
비용 증가 넘어 기술 경쟁력 약화 우려
업계에서는 급증하는 NPE의 공격을 개별 기업이 아닌 한국 반도체 산업의 생존 전략 차원에서 다뤄야 한다는 목소리가 커지고 있다.
소모적인 특허소송이 급증하면서 연구개발(R&D) 투자와 생산능력(CAPA) 확장, 공급망 안정화 등이 차질을 빚으면서 단기적 비용 지출을 넘어 장기적 기술 경쟁력 약화로 이어질 수 있다는 우려가 확산하면서다.
더 많은 기술을 개발하고 더 많은 특허를 보유할수록 NPE의 표적이 될 가능성이 커지는 ‘아이러니’가 기업의 기술 개발 의욕을 꺾을 것이라는 불안도 커지고 있다.
트럼프 행정부의 보호무역주의 기조를 등에 업은 NPE들의 공격에 개별 기업이 로펌 고용이나 특허 포트폴리오 강화 수준으로 대응하는 것은 임시방편일 뿐 구조적 해결책이 될 수 없다는 분석도 나온다.
이에 따라 업계는 한국 산업계와 정부가 공동으로 미국 정부에 우려의 목소리를 전달하고 실질적 대응책을 마련해야 한다고 입을 모았다.
업계 관계자는 “국가 기간산업인 반도체의 미래가 단순히 기술 경쟁을 넘어 지식재산 정책이라는 외풍에 흔들리는 상황”이라며 “’특허괴물’의 횡포에 당하기만 할 것이 아니라 미 정부와 국제사회에 목소리를 내고 시급히 실질적 대응 방안을 마련해야 한다”고 말했다,
[IP전략연구소 (kdong@boannews.com)]
<저작권자: 보안뉴스(www.boannews.com) 무단전재-재배포금지>














